当前位置:首页>铸造工艺

铝合金轮毂低压铸造充型时间检测技术开发与应用

张建良、曹学锋等 发表于2026/3/19 15:19:47 铝合金轮毂充型工艺

摘要

低压铸造充型参数设计是否合理,直接影响铸造铝合金轮毂产品的内部质量,之前我司充型参数一般依靠理论计算,但受浇道截面尺寸、滤网种类、产品结构等因素影响,充型参数设定不能达到最优。为准确判断铝液实际充型完成时间,开发了低压铸造充型时间检测技术。已将此技术成功应用于多个铝合金轮毂铸造难题的研究及改善中,比如大尺寸小浇道产品安装面氧化皮,铸件缩松、气孔等。另外,基于此技术还对低压铸造机充型控制程序进行了优化改进,实现了充型时间的智能化控制,保证充型完成后及时加压,显著提高了产品质量。

低压铸造工艺产品致密度高、材料收得率高、材料性能优异且易于实现自动化生产,目前已成为铝合金轮毂的主流成形工艺。铝合金轮毂低压铸造充型参数设置主要依靠理论计算,但是铝液充型速度受浇道截面尺寸、滤网种类、产品结构等因素影响较大,实际充型时间与理想工艺参数符合性较差。如果实际充型速度过快,则充型不平稳,易导致铸件氧化夹渣、气孔,报废增多;另外,充满后不能及时加压还会导致铝轮毂各部位补缩不足而产生各类缩松缺陷。相反,如果实际充型速度过慢,则易造成铸件浇不足、冷隔缺陷;另外,如果铝液未及时充满型腔便进入升压阶段,还会导致铸件飞边增大,甚至铝液泄漏。为了便于直观判定加压参数设置是否合理,经过研发改进,成功开发了可准确检测低压铸造模具内铝液实际充型完成时间的装置。

01 充型参数理论计算方法

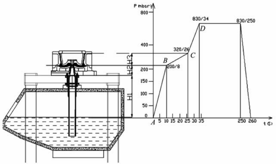
1.1 低压铸造充型曲线

铝合金轮毂低压铸造充型曲线一般设计为三段充型(或四段充型),工艺曲线包括升液、充型、升压、保压、泄压等五个阶段,每个阶段对应曲线见图1所示。

图1 铝轮毂低压铸造充型过程示意图

图1中AB段为升液阶段,理想状态下,当设备压力曲线运行至B点时,铝液需达到浇口附近;BC段为平稳充型阶段,当设备压力曲线运行至C点时,铝液需正好充满型腔;CD段为快速升压阶段,当设备压力曲线达到D点时,达到保压压力,铸件在较高压力下进行补缩凝固。

1.2 充型参数设计原理

根据液体压强计算公式计算铝液充型所需压力P(mbar):
                      P=ρghμ/100 (1)

式中:ρ为铝液密度,700 ℃铝液密度为2 400 kg/m³;g为常数,9.8 N/kg;h为升液高度,m;μ为充型阻力系数,一般为1~1.5。

1.3 各阶段压力计算

升液阶段:升液结束时要求铝液恰好达到模具浇口套顶部位置,设定一段压力需要测量或查询以下数据:h1=炉内加满铝液最高液面至机台台板顶端距离;h2=模具浇口杯和浇口套组合高度。依据以上计算公式计算P1=ρg(h1+h2)μ1,一段充型阻力系数可忽略不计。

充型阶段:二段充型要求尽量平稳且要求二段充型时间结束时铝液恰好充满模具型腔。升压时间不能过早或过晚:如铝液尚未充满即开始加压,将会造成型腔内铝液喷射,造成飞边大,增加产品气孔及氧化夹渣产生概率;如型腔充满后不能及时加压,则会导致加压补缩不及时,易造成R角、轮辋缩松。设定二段压力前需从模具总装图测量浇口套顶部距毛坯内耳缘最高端面的高度,得出h2。按公式计算二段充型压力P2=ρg(h1+h2+h3)μ2。之前阻力系数μ2一般是根据经验进行估算设定,如产品结构比较特殊,则参数设定准确性不高。

02 充型时间检测技术

检测点材料主要为陶瓷绝缘套、钨钢探针,具体结构见图2。当型腔内无铝液时,钨钢探针与模具为绝缘状态,当铝液充型到检测点时,会形成一个闭合的通路。目前已将探测器安装在模具上耳TC1和轮心安装面TC2位置,见图3。

图2 内轮缘部位液位探头结构示意图

图3 液位探头安装位置示意图

在铸造机控制系统内增加两路计时器,见图4。当合模加压开始计时器从0开始计时,当铝液充型至对应部位时,铝液接触到探针(相当于开关闭合),电路立即连通,对应的计时器便停止计时,实现铝液充型时间的准确检测。

图4 液位检测计时窗口

03 充型时间检测技术应用

3.1 大尺寸小浇道产品安装面氧化皮问题改善

(1)问题描述。我集团TJ分公司在为某国外知名主机厂生产的5款大尺寸小浇道产品时遇到了产品综合报废率高的问题,其中最主要的报废原因是安装面氧化皮缺陷。过程中工艺人员对铸造工艺及充型参数进行了多次调整,仍不能彻底解决,氧化皮类缺陷报废率仍高达30%左右。

(2)问题分析。集团技术攻关团队介入后,选定了安装面氧化皮最严重的两款产品,基于低压铸造充型检测技术实测了实际充型时间,经过检测发现,实际充型时间仅有17 s左右,而液态金属的流动不产生紊流的条件是雷诺数Re<2 000,反推升液加充型理想时间需达到25 s以上,实际充型完成时间比理想充型完成时间快了8 s,铝液充型过程中产生了较严重的紊流,造成安装面氧化皮产生。

(3)改善对策。结合实测充型时间,将其中两款产品充型参数进行优化,通过调低充型压力,延长二段充型时间等,将实际充型时间控制在30 s左右;两款产品各加工验证50件,因安装面部位氧化皮原因报废数量为零,改善效果非常明显。

综合考虑毛坯重量和浇道尺寸,重新设计了现有5款大尺寸小浇道产品的充型参数,保证实际的充型时间达到在27 s以上,铝液达到平稳充型,具体见表1。

表1 大尺寸产品优化后充型参数

(4)效果确认。充型参数优化后,几款产品安装面氧化皮问题解决效果良好,各轮型改善前后报废率对比数据见表2。

表2 各轮型改善前后报废率对比数据

(5)总结推广。以上几款产品铸件尺寸较大,每只毛坯重量均在35 kg以上,另外产品浇道普遍较小,充型时间过短导致了浇道处铝液流速过快,安装面部位产生氧化皮缺陷,经过对充型参数进一步优化后问题解决。

同样的充型时间检测方法应用于我司轮辋缩松、气孔类缺陷问题的改善中,结合实际充型时间检测,发现按照目前充型参数设计方法,部分产品确实存在加压延迟、未充满加压的现象,通过对充型参数进行优化,将轮辋缩松报废率、气孔类缺陷报废率降低了50%以上,产品质量得到显著提升。

3.2 智能充型技术的开发及应用

为彻底解决部分模具充型参数设计不合理的问题,提高产品质量,对低压机台充型控制系统进行了改造,将原来的压力/时间曲线控制方式变更为加压斜率+铝液充满信号触发控制模式,实现了充型阶段到升压阶段的自动精准切换,保证每个铸件充满后均实现及时加压,显著提高了产品内部质量。

通过对充型工艺与常规充型工艺的对比验证,得到智能充型技术对产品质量影响的部分验证数据。

(1)充型工艺参数对比。先按照原来的充型参数进行设定,验证生产良品毛坯50只;然后将原来的压力/时间曲线控制方式变更为增压速率+铝液充满信号触发控制模式,实现充型阶段到升压阶段的自动精准切换,再生产良品毛坯50只。具体工艺参数对比见表3。

表3 充型工艺参数对比

(2)内耳缘部位实际充型完成时间。两种控制模式下,实测内轮缘部位铝液充满时间,评价铝液充满后升压延迟时间,数据对比见表4。

表4 实测内轮缘部位充型完成时间

经过对比分析,在压力/时间控制模式下,实测铸件充型完成时间平均为21.25 s,而实际程序并未在21.25 s时进行升压,而是延迟了4.75 s才进行升压,按照之前铸造模拟分析结果(图5),该产品轮辋部位的凝固50%仅需20 s左右,轮辋部位凝固100%仅需40 s左右。显然以上工艺参数设定不合理,在一定程度上延误了补缩时机。

图5 铝轮毂充型完成后不同时刻固相率对比图

在智能充型控制模式下,铸件充型完成,设备立即升压,及时迅速达到保压状态,铸件获得充分补缩。

(3)两种控制模式下轮辋X光检验结果对比。两种控制模式各生产毛坯50只,铸件全部经X光检测,除轮辋部位之外的其他部位无明显缺陷。故以轮辋部位缩松级别所占比例,对比评估两方案的影响,整理不同级别毛坯所占比例,具体数据见表5。(0级代表铸件无可视缺陷,X光级数越高,代表铸件内部缩松越严重)。

表5 不同级别毛坯所占比例

采用智能充型控制工艺,产品X光等级有了明显提高。 X光检测一级以内毛坯占比由原来的64%提高至86%。

(4) 两种控制模式下力学性能对比。两种控制模式下成品力学性能对比数据见表6(每种工艺检测2只铝轮毂,每个部位取5根试棒)。

表6 成品力学性能对比

采用智能充型控制工艺,产品伸长率平均值约提升1%,另外由于及时加压,最大程度上提升了铸件内部致密度,试棒中显微缩松缺陷减少,相同部位取样试棒的标准偏差值有明显降低,力学性能稳定性整体提高。

04 结论

铝合金轮毂低压铸造充型时间检测技术实现了对低压铸造充型工艺合理性进行准确判断,为我公司铸造理论研究及各类铸造技术难题解决提供了准确的数据支持。借助充型时间检测技术,实现了铸造设备压力曲线的精准智能控制,实现了升压零延迟,铸件获得了最佳的补缩效果,产品致密度、综合良品率及力学性能均获得了显著提升。

作者

张建良,曹学锋,张少文

保定市立中车轮制造有限公司
河北省高强韧轻量化车轮技术创新中心

本文转载自:铸造杂志

回页顶部